Apple pracuje nad interfejsem 3D?

W sieci pojawiły się wyjątkowo interesujące grafiki, które pochodzą z wniosku patentowego Apple. Przedstawiają one trójwymiarowy interfejs systemu Apple. Nie wiadomo jednak, czy te plany zostaną wykorzystane w którejś z nadchodzących wersji systemu OS X.

Apple pracuje nad interfejsem 3D? 1

W sieci pojawiły się wyjątkowo interesujące grafiki, które pochodzą z wniosku patentowego Apple. Przedstawiają one trójwymiarowy interfejs systemu Apple. Nie wiadomo jednak, czy te plany zostaną wykorzystane w którejś z nadchodzących wersji systemu OS X.

Jeżeli chodzi o Snow Leoparda to z dużą dozą prawdopodobieństwa można powiedzieć, że nie ujrzymy tam trójwymiarowego interfejsu, który byłļy zbliżony kształtem i możliwościami do tego, co zostało opatentowane w 2007 roku przez Apple. Snow Leopard to głównie poprawki stabilności i wydajności Leoparda.

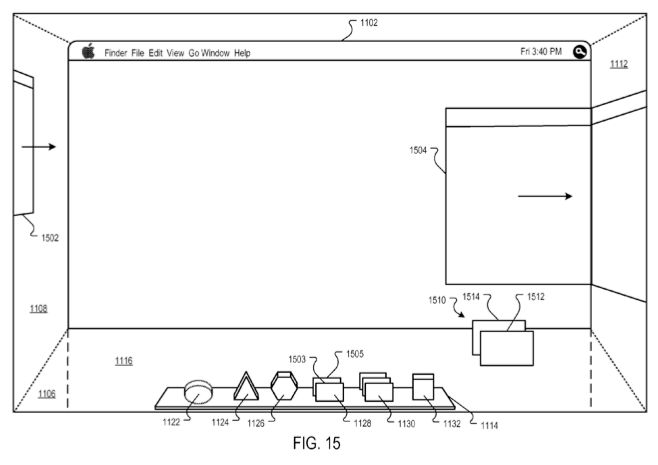
Apple pracuje nad interfejsem 3D? 2

Tak czy inaczej, z czystej ciekawości rzućmy okiem na to, nad czym Apple pracowało (a może pracuje nadal). Ewidentnie widać charakterystyczne elementy systemu jak pasek menu, czy Dock. Jednak uwagę zwraca przestrzenne ulokowanie ikon - w zależności od tego, czy dany program jest uruchomiony czy nie znajdują się one na bliższym, lub dalszym planie.

Apple pracuje nad interfejsem 3D? 3

Okna aplikacji można umieszczać na wielu płaszczyznach, co daje jeszcze lepsze zagospodarowanie przestrzeni roboczej.

Na pewno cieszy fakt, że Apple pracuje nad alternatywnymi interfejsami swojego systemu operacyjnego. Nam nie pozostaje nic innego jak mieć nadzieję, że zostaniemy bardzo pozytywnie zaskoczeni jakimiś nowatorskimi rozwiązaniami.

Źródło: MacRumors

Źródło artykułu: WP Komórkomania
Wybrane dla Ciebie
Korzystasz ze Spotify? Uważaj na te wiadomości
Korzystasz ze Spotify? Uważaj na te wiadomości
Zapomniałeś hasła do mObywatela? Oto prosty sposób, aby odzyskać dostęp do aplikacji
Zapomniałeś hasła do mObywatela? Oto prosty sposób, aby odzyskać dostęp do aplikacji
Jak będzie działało AI w iOS 18? Wyciekły plany Apple
Jak będzie działało AI w iOS 18? Wyciekły plany Apple
Edytowanie wysłanych SMS-ów? Testy nowej funkcji na Androidzie
Edytowanie wysłanych SMS-ów? Testy nowej funkcji na Androidzie
Czy można używać telefonu podczas burzy? Wyjaśniamy
Czy można używać telefonu podczas burzy? Wyjaśniamy
Jak ukryć swój numer? Prosty poradnik jak ustawić numer prywatny
Jak ukryć swój numer? Prosty poradnik jak ustawić numer prywatny
Premiera Sony Xperia 1 VI już wkrótce. Smartfon zaskoczy aparatem?
Premiera Sony Xperia 1 VI już wkrótce. Smartfon zaskoczy aparatem?
iPhone ze wsparciem AI? Apple blisko zawarcia umowy z OpenAI
iPhone ze wsparciem AI? Apple blisko zawarcia umowy z OpenAI
Tinder ma kłopoty? Młodsi użytkownicy wybierają inną aplikację
Tinder ma kłopoty? Młodsi użytkownicy wybierają inną aplikację
Microsoft uruchomi sklep z grami mobilnymi. Zagrozi Google Play i App Store?
Microsoft uruchomi sklep z grami mobilnymi. Zagrozi Google Play i App Store?
Przetestowali nowy procesor Apple. Oto wyniki wydajności Silicon M4
Przetestowali nowy procesor Apple. Oto wyniki wydajności Silicon M4
Nadchodzi oficjalna premiera serii Realme 12 5G. Ceny poznaliśmy już dziś
Nadchodzi oficjalna premiera serii Realme 12 5G. Ceny poznaliśmy już dziś
ZATRZYMAJ SIĘ NA CHWILĘ… TE ARTYKUŁY WARTO PRZECZYTAĆ 👀