Apple także wejdzie w wirtualną rzeczywistość?

Oculus ma Rifta, Samsung ma Geara VR, a Google zachęca wszystkich do robienia Cardboardów z kartonu. Czy Apple zrewolucjonizuje rynek VR?

Apple także wejdzie w wirtualną rzeczywistość? 1
Źródło zdjęć: © bestofmicro.com

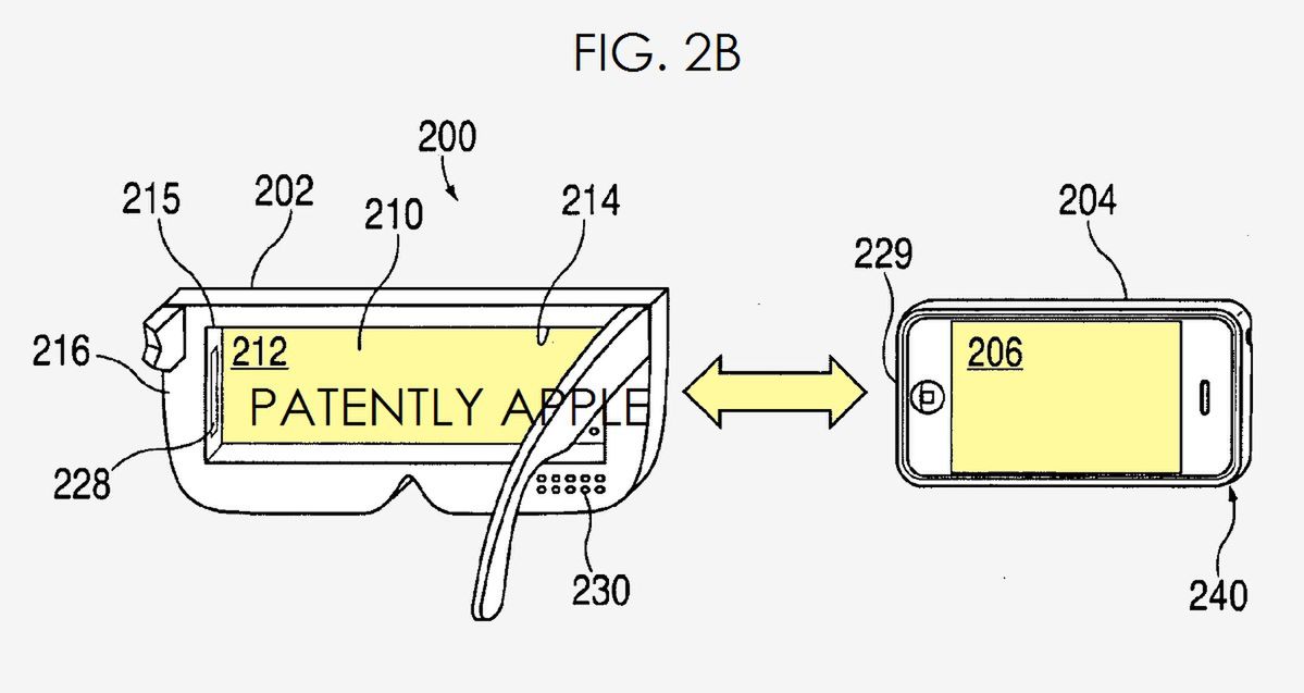
Niedawno amerykański urząd patentowy oficjalnie opublikował 41 nowych patentów firmy Apple. Wśród nich jest także jeden dotyczący gogli wirtualnej rzeczywistości. Z rysunków technicznych wynika, że urządzenia działającego na podobnej zasadzie co Gear VR, tylko zamiast Galaxy Note'a 4 jego sercem miałby być iPhone. Całość - według wizji Apple -ma być obsługiwana fizycznymi przyciskami z boków obudowy oraz komendami głosowymi.

Apple także wejdzie w wirtualną rzeczywistość? 2

Patent obejmuje także tryb Picture-in-Picture wykorzystujący kamerę smartfona w aplikacjach rozszerzonej rzeczywistości. Możliwe więc będzie nakładanie różnych graficznych i tekstowych elementów na widziany przez nas obraz rzeczywisty.

Ciekawie zapowiada się także kwestia dźwięku, gdyż według projektu w okolicach uszu ma być wykorzystana technologia podobna do Taptic Engine z zegarka Watch, co ma otworzyć przed nami zupełnie nowe doznania na przykład podczas oglądania filmów.

Apple także wejdzie w wirtualną rzeczywistość? 3

Co ciekawe, to nie pierwszy patent Apple dotyczący wirtualnej rzeczywistości. Pierwsze pojawiły się już 7 lat temu, w 2008 roku. Czy Apple rzeczywiście zaprezentuje swoje gogle? A może będzie to mieszanka Google Glass i Gear VR? Gigant z Cupertino może jeszcze na tym rynku sporo namieszać.

Źródło: PatentlyApple

Źródło artykułu: WP Komórkomania
Wybrane dla Ciebie
Korzystasz ze Spotify? Uważaj na te wiadomości
Korzystasz ze Spotify? Uważaj na te wiadomości
Zapomniałeś hasła do mObywatela? Oto prosty sposób, aby odzyskać dostęp do aplikacji
Zapomniałeś hasła do mObywatela? Oto prosty sposób, aby odzyskać dostęp do aplikacji
Jak będzie działało AI w iOS 18? Wyciekły plany Apple
Jak będzie działało AI w iOS 18? Wyciekły plany Apple
Edytowanie wysłanych SMS-ów? Testy nowej funkcji na Androidzie
Edytowanie wysłanych SMS-ów? Testy nowej funkcji na Androidzie
Czy można używać telefonu podczas burzy? Wyjaśniamy
Czy można używać telefonu podczas burzy? Wyjaśniamy
Jak ukryć swój numer? Prosty poradnik jak ustawić numer prywatny
Jak ukryć swój numer? Prosty poradnik jak ustawić numer prywatny
Premiera Sony Xperia 1 VI już wkrótce. Smartfon zaskoczy aparatem?
Premiera Sony Xperia 1 VI już wkrótce. Smartfon zaskoczy aparatem?
iPhone ze wsparciem AI? Apple blisko zawarcia umowy z OpenAI
iPhone ze wsparciem AI? Apple blisko zawarcia umowy z OpenAI
Tinder ma kłopoty? Młodsi użytkownicy wybierają inną aplikację
Tinder ma kłopoty? Młodsi użytkownicy wybierają inną aplikację
Microsoft uruchomi sklep z grami mobilnymi. Zagrozi Google Play i App Store?
Microsoft uruchomi sklep z grami mobilnymi. Zagrozi Google Play i App Store?
Przetestowali nowy procesor Apple. Oto wyniki wydajności Silicon M4
Przetestowali nowy procesor Apple. Oto wyniki wydajności Silicon M4
Nadchodzi oficjalna premiera serii Realme 12 5G. Ceny poznaliśmy już dziś
Nadchodzi oficjalna premiera serii Realme 12 5G. Ceny poznaliśmy już dziś
ZANIM WYJDZIESZ... NIE PRZEGAP TEGO, CO CZYTAJĄ INNI! 👇