Dwa ekrany w iPhone Nano

Premiery długo zapowiadanego iPhone’a już tuż tuż. Tymczasem Apple, któremu najwyraźniej nadal za mało wrażeń, wpadł na następny genialny pomysł. Amerykański producent złożył wniosek o patent opisujący urządzenia typu iPod posiadające dwa ekrany.

Dwa ekrany w iPhone Nano 1

Premiery długo zapowiadanego iPhone’a już tuż tuż. Tymczasem Apple, któremu najwyraźniej nadal za mało wrażeń, wpadł na następny genialny pomysł. Amerykański producent złożył wniosek o patent opisujący urządzenia typu iPod posiadające dwa ekrany.

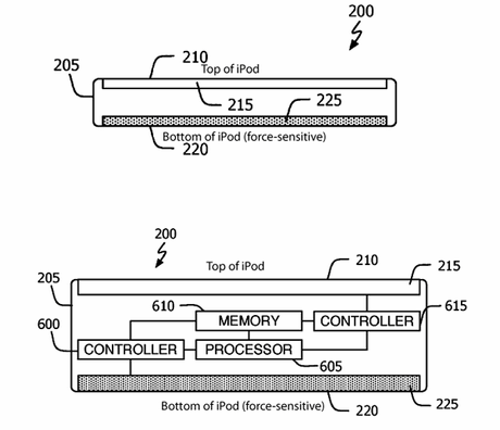
Od dłuższego czasu wiadomo już, że wraz z iPhone’m mają pokazać się jego dwaj młodsi bracia iPhone Nano i iPhone Shuffle. Oba telefony będą przeznaczone dla szerszego grona odbiorców, tj. użytkowników niespodziewających się po swoim telefonie, że kiedyś sam zacznie chodzić. Do premiery zostało jeszcze trochę czasu a Apple już zaplanował, że iPhone Nano i iPod Nano zostaną wzbogacone o ekran dotykowy z tyłu obudowy.

Dwa ekrany w iPhone Nano 2

Gdy tylny ekran zostanie aktywowany, będziemy mogli skorzystać ze słynnego obrotowego kółka iPod’a albo użyć klasycznej klawiatury lub klawiatury QWERTY. Cały pomysł wydaje się dość intrygujący, bo iPhone Nano tak samo jak i iPod Nano ma być małym urządzeniem i korzystanie z ekranu dotykowego może się okazać niezwykłą umiejętnością. Jak na razie nie pozostaje nic innego jak czekać aż sprawy same się wyjaśnią.

Dwa ekrany w iPhone Nano 3

Tymczasem zanim wyjdzie iPhone Nano zapraszamy do galerii jego większego brata.

Źródło: i4u

Fot.: Apple

Źródło artykułu: WP Komórkomania
Wybrane dla Ciebie
Korzystasz ze Spotify? Uważaj na te wiadomości
Korzystasz ze Spotify? Uważaj na te wiadomości
Zapomniałeś hasła do mObywatela? Oto prosty sposób, aby odzyskać dostęp do aplikacji
Zapomniałeś hasła do mObywatela? Oto prosty sposób, aby odzyskać dostęp do aplikacji
Jak będzie działało AI w iOS 18? Wyciekły plany Apple
Jak będzie działało AI w iOS 18? Wyciekły plany Apple
Edytowanie wysłanych SMS-ów? Testy nowej funkcji na Androidzie
Edytowanie wysłanych SMS-ów? Testy nowej funkcji na Androidzie
Czy można używać telefonu podczas burzy? Wyjaśniamy
Czy można używać telefonu podczas burzy? Wyjaśniamy
Jak ukryć swój numer? Prosty poradnik jak ustawić numer prywatny
Jak ukryć swój numer? Prosty poradnik jak ustawić numer prywatny
Premiera Sony Xperia 1 VI już wkrótce. Smartfon zaskoczy aparatem?
Premiera Sony Xperia 1 VI już wkrótce. Smartfon zaskoczy aparatem?
iPhone ze wsparciem AI? Apple blisko zawarcia umowy z OpenAI
iPhone ze wsparciem AI? Apple blisko zawarcia umowy z OpenAI
Tinder ma kłopoty? Młodsi użytkownicy wybierają inną aplikację
Tinder ma kłopoty? Młodsi użytkownicy wybierają inną aplikację
Microsoft uruchomi sklep z grami mobilnymi. Zagrozi Google Play i App Store?
Microsoft uruchomi sklep z grami mobilnymi. Zagrozi Google Play i App Store?
Przetestowali nowy procesor Apple. Oto wyniki wydajności Silicon M4
Przetestowali nowy procesor Apple. Oto wyniki wydajności Silicon M4
Nadchodzi oficjalna premiera serii Realme 12 5G. Ceny poznaliśmy już dziś
Nadchodzi oficjalna premiera serii Realme 12 5G. Ceny poznaliśmy już dziś
ZACZEKAJ! ZOBACZ, CO TERAZ JEST NA TOPIE 🔥