Patent Motoroli: kilka komórek, jako jeden ekran?

Masz dość oglądania klipów wideo na niewielkim ekranie swojego smartfona? Inżynierowie amerykańskiej Motoroli pracują właśnie nad rozwiązaniem, które na zawsze zakończy problem związany z małą przekątną komórkowych wyświetlaczy. Amerykańskie biuro patentowe opublikowało właśnie wniosek patentujący najnowszą technologię, pozwalającą na łączenie wielu urządzeń w jeden ekran.

Patent Motoroli: kilka komórek, jako jeden ekran? 1

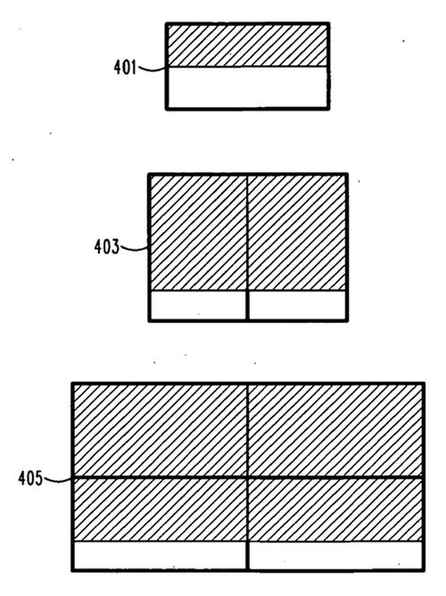
W opisie wniosku czytamy, że by połączyć kilka sprzętów w jeden ekran chociażby podczas streamingu klipów wideo z Sieci wystarczy położyć je koło siebie. Wyświetlany obraz ma być dostosowany do jakości połączenia (3G lub WiFi). Według inżynierów, rozwiązanie opatentowane przez Motorolę znajdzie zastosowanie nie tylko w telefonach komórkowych, ale także odtwarzaczach multimedialnych czy netbookach.

Patent Motoroli: kilka komórek, jako jeden ekran? 2

Dokumenty opublikowane przez US Patent and Trademark Office datowane są na 2008 rok, możemy więc przypuszczać, że prace są już na dość zaawansowanym stadium. Prawdopodobnie kolejne urządzenia Motoroli zostaną wyposażone w specjalne, dedykowane przyciski, które pomogą w obsłudze nowego rozwiązania. Niestety, nie wiadomo kiedy na rynku pojawią się komórki dostosowane do najnowszego wynalazku Motoroli.

Źródło artykułu: WP Komórkomania
Wybrane dla Ciebie
Korzystasz ze Spotify? Uważaj na te wiadomości
Korzystasz ze Spotify? Uważaj na te wiadomości
Zapomniałeś hasła do mObywatela? Oto prosty sposób, aby odzyskać dostęp do aplikacji
Zapomniałeś hasła do mObywatela? Oto prosty sposób, aby odzyskać dostęp do aplikacji
Jak będzie działało AI w iOS 18? Wyciekły plany Apple
Jak będzie działało AI w iOS 18? Wyciekły plany Apple
Edytowanie wysłanych SMS-ów? Testy nowej funkcji na Androidzie
Edytowanie wysłanych SMS-ów? Testy nowej funkcji na Androidzie
Czy można używać telefonu podczas burzy? Wyjaśniamy
Czy można używać telefonu podczas burzy? Wyjaśniamy
Jak ukryć swój numer? Prosty poradnik jak ustawić numer prywatny
Jak ukryć swój numer? Prosty poradnik jak ustawić numer prywatny
Premiera Sony Xperia 1 VI już wkrótce. Smartfon zaskoczy aparatem?
Premiera Sony Xperia 1 VI już wkrótce. Smartfon zaskoczy aparatem?
iPhone ze wsparciem AI? Apple blisko zawarcia umowy z OpenAI
iPhone ze wsparciem AI? Apple blisko zawarcia umowy z OpenAI
Tinder ma kłopoty? Młodsi użytkownicy wybierają inną aplikację
Tinder ma kłopoty? Młodsi użytkownicy wybierają inną aplikację
Microsoft uruchomi sklep z grami mobilnymi. Zagrozi Google Play i App Store?
Microsoft uruchomi sklep z grami mobilnymi. Zagrozi Google Play i App Store?
Przetestowali nowy procesor Apple. Oto wyniki wydajności Silicon M4
Przetestowali nowy procesor Apple. Oto wyniki wydajności Silicon M4
Nadchodzi oficjalna premiera serii Realme 12 5G. Ceny poznaliśmy już dziś
Nadchodzi oficjalna premiera serii Realme 12 5G. Ceny poznaliśmy już dziś
ZANIM WYJDZIESZ... NIE PRZEGAP TEGO, CO CZYTAJĄ INNI! 👇