WAŻNE
TERAZ

Korki strzelą na Kremlu? Faworyt w Bułgarii patrzy na Wschód

Marka Motorola RAZR wróci na rynek? Umożliwią to składane smartfony

Wkrótce na rynek powrócić może marka RAZR, która kojarzona jest głównie z kultowymi telefonami z klapką Motoroli. Umożliwić mają to składane ekrany.

Marka Motorola RAZR wróci na rynek? Umożliwią to składane smartfony 1Koncepcyjny projekt składanego smartfonu Motorola RAZR
Źródło zdjęć: © TechConfigurations/YouTube

Motorola może już pracować na zupełnie nową klapką

Wiadomo od dawna, że firma Lenovo opracowuje autorskie rozwiązania z elastycznymi ekranami. Pewne jest więc to, że nad rozwiązaniami tego typu pracuje również należąca do niej Motorola, a potwierdzeniem jest wniosek patentowy, który zauważył serwis MobielKopen

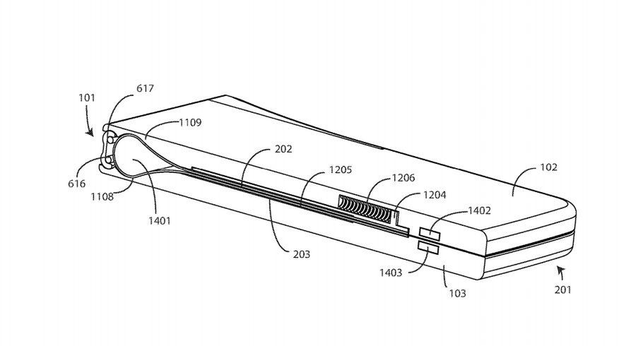
Marka Motorola RAZR wróci na rynek? Umożliwią to składane smartfony 2
Ilustracja do wniosku patentowego Motoroli, który dotyczy składanego urządzenia z elastycznym ekranem © USPTO

W Urzędzie Patentów i Znaków Towarowych Stanów Zjednoczonych pojawił się projekt, który dotyczy smartfonu ze składanym ekranem. Jego panel ma być zginany w pionie, a sprzęt konstrukcją wyraźnie nawiązuje do popularnych lata temu telefonów z klapkami.

Marka Motorola RAZR wróci na rynek? Umożliwią to składane smartfony 3
Ilustracja do wniosku patentowego Motoroli, który dotyczy składanego urządzenia z elastycznym ekranem © USPTO

Biorąc pod uwagę, że Amerykanie w przeszłości wprowadzili na rynek dużą liczbę składanych komórek z różnych półek cenowych, można spodziewać się, że podobnym projekt w przyszłości trafi na rynek. Szczególnie, że będzie on dobra okazją do wskrzeszenia marki RAZR.

Pamiętacie jeszcze klapki z linii RAZR?

RAZR jest jedną z tych marek, które darzę sporym sentymentem. Wszystko zaczęło się od kultowego modelu V3, który do sprzedaży trafi w drugiej połowie 2004 roku. Klapka Motoroli nie tylko wyróżniała się wyglądem w momencie premiery, ale i do teraz zwraca uwagę wzornictwem.

Marka Motorola RAZR wróci na rynek? Umożliwią to składane smartfony 4
Motorola RAZR V3

Nie powinno więc dziwić, że szybko zdobyła ogromną popularność na rynku. Motorola w 2006 roku chwaliła się sprzedażą na poziomie 50 mln egzemplarzy, a już dwa lata później Amerykanie informowali o 130 mln modeli rozprowadzonych na świecie, co sprawiło, że RAZR V3 stała się najpopularniejszym telefonem z klapką w historii.

Firma z Chicago starała się potem pójść za ciosem wprowadzając różne wariacje urządzenia, a potem również jego znacznie ulepszoną wersję - V3i. W ramach linii RAZR pojawiły się również inne produkty jak V8 czy V9, ale żaden z nich nie powtórzył sukcesu pierwszej V3.

Marka Motorola RAZR wróci na rynek? Umożliwią to składane smartfony 5
Motorola RAZR V9

Ba, część ekspertów wskazywała, że zbyt mocne skupie się na modelach RAZR sprawiło, że Amerykanie zbyt wolno odpowiadali na rynkowe trendy i nie byli w stanie poradzić wiele na systematycznie topniejące udziały w rynku. Nie da się jednak ukryć, że RAZR V3 czy V3i odcisnęły swoje piętno na kartach historii rynku mobilnego.

Wskrzeszenie Motoroli RAZR będzie kolejnym "dużym powrotem" na rynku mobilnych?

Powrót do kultowej marki RAZR, którą wciąż kojarzą rzesze użytkowników, może być mocnym orężem marketingowym w rękach Motoroli. Tym bardziej, że idealnie wpisuje się w koncepcję składanych smartfonów z elastycznymi ekranami.

Marka Motorola RAZR wróci na rynek? Umożliwią to składane smartfony 6
Motorola RAZR Maxx (XT910)

Między słowami potwierdził to nawet szef Lenovo podczas MWC 2018, który zapytany o powrót do linii RAZR wskazał, że nowe technologie jak składane ekrany otworzą przed Motorolą nowe możliwości. Pozostaje więc liczyć, że składane smartfony bardziej przekonają użytkowników niż model RAZR Maxx (XT910), który dobrych kilka lat temu firma próbowała wypromować na sentymencie do kultowej klapki.

Źródło artykułu: WP Komórkomania
Wybrane dla Ciebie
Korzystasz ze Spotify? Uważaj na te wiadomości
Korzystasz ze Spotify? Uważaj na te wiadomości
Zapomniałeś hasła do mObywatela? Oto prosty sposób, aby odzyskać dostęp do aplikacji
Zapomniałeś hasła do mObywatela? Oto prosty sposób, aby odzyskać dostęp do aplikacji
Jak będzie działało AI w iOS 18? Wyciekły plany Apple
Jak będzie działało AI w iOS 18? Wyciekły plany Apple
Edytowanie wysłanych SMS-ów? Testy nowej funkcji na Androidzie
Edytowanie wysłanych SMS-ów? Testy nowej funkcji na Androidzie
Czy można używać telefonu podczas burzy? Wyjaśniamy
Czy można używać telefonu podczas burzy? Wyjaśniamy
Jak ukryć swój numer? Prosty poradnik jak ustawić numer prywatny
Jak ukryć swój numer? Prosty poradnik jak ustawić numer prywatny
Premiera Sony Xperia 1 VI już wkrótce. Smartfon zaskoczy aparatem?
Premiera Sony Xperia 1 VI już wkrótce. Smartfon zaskoczy aparatem?
iPhone ze wsparciem AI? Apple blisko zawarcia umowy z OpenAI
iPhone ze wsparciem AI? Apple blisko zawarcia umowy z OpenAI
Tinder ma kłopoty? Młodsi użytkownicy wybierają inną aplikację
Tinder ma kłopoty? Młodsi użytkownicy wybierają inną aplikację
Microsoft uruchomi sklep z grami mobilnymi. Zagrozi Google Play i App Store?
Microsoft uruchomi sklep z grami mobilnymi. Zagrozi Google Play i App Store?
Przetestowali nowy procesor Apple. Oto wyniki wydajności Silicon M4
Przetestowali nowy procesor Apple. Oto wyniki wydajności Silicon M4
Nadchodzi oficjalna premiera serii Realme 12 5G. Ceny poznaliśmy już dziś
Nadchodzi oficjalna premiera serii Realme 12 5G. Ceny poznaliśmy już dziś
ZACZEKAJ! ZOBACZ, CO TERAZ JEST NA TOPIE 🔥