Marzenia Nokii o składanym komunikatorze

Amerykańskie FCC otrzymało kolejną aplikację o patent od Nokii. Tym razem producentowi marzy się komunikator składany nie na dwie, ale na cztery części.

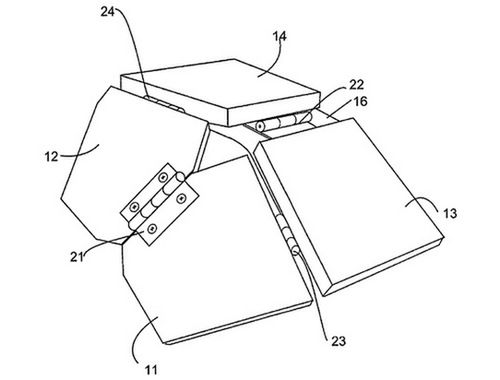
Marzenia Nokii o składanym komunikatorze 1

Amerykańskie FCC otrzymało kolejną aplikację o patent od Nokii. Tym razem producentowi marzy się komunikator składany nie na dwie, ale na cztery części.

Koncepcja zakłada model telefonu, który na pierwszy rzut oka wygląda jak małe, sześcienne pudełko. Po rozłożeniu urządzenia ma nam się ukazać składany na pół ekran oraz pełna klawiatura QWERTY, którą utworzą kolejne dwie części.

Marzenia Nokii o składanym komunikatorze 2

Patent na zdjęciu wygląda intrygująco, ale co do komfortu używania takiego komunikatora mam pewne wątpliwości.

Źródło: Cellpassion

Źródło artykułu: WP Komórkomania
Wybrane dla Ciebie
Korzystasz ze Spotify? Uważaj na te wiadomości
Korzystasz ze Spotify? Uważaj na te wiadomości
Zapomniałeś hasła do mObywatela? Oto prosty sposób, aby odzyskać dostęp do aplikacji
Zapomniałeś hasła do mObywatela? Oto prosty sposób, aby odzyskać dostęp do aplikacji
Jak będzie działało AI w iOS 18? Wyciekły plany Apple
Jak będzie działało AI w iOS 18? Wyciekły plany Apple
Edytowanie wysłanych SMS-ów? Testy nowej funkcji na Androidzie
Edytowanie wysłanych SMS-ów? Testy nowej funkcji na Androidzie
Czy można używać telefonu podczas burzy? Wyjaśniamy
Czy można używać telefonu podczas burzy? Wyjaśniamy
Jak ukryć swój numer? Prosty poradnik jak ustawić numer prywatny
Jak ukryć swój numer? Prosty poradnik jak ustawić numer prywatny
Premiera Sony Xperia 1 VI już wkrótce. Smartfon zaskoczy aparatem?
Premiera Sony Xperia 1 VI już wkrótce. Smartfon zaskoczy aparatem?
iPhone ze wsparciem AI? Apple blisko zawarcia umowy z OpenAI
iPhone ze wsparciem AI? Apple blisko zawarcia umowy z OpenAI
Tinder ma kłopoty? Młodsi użytkownicy wybierają inną aplikację
Tinder ma kłopoty? Młodsi użytkownicy wybierają inną aplikację
Microsoft uruchomi sklep z grami mobilnymi. Zagrozi Google Play i App Store?
Microsoft uruchomi sklep z grami mobilnymi. Zagrozi Google Play i App Store?
Przetestowali nowy procesor Apple. Oto wyniki wydajności Silicon M4
Przetestowali nowy procesor Apple. Oto wyniki wydajności Silicon M4
Nadchodzi oficjalna premiera serii Realme 12 5G. Ceny poznaliśmy już dziś
Nadchodzi oficjalna premiera serii Realme 12 5G. Ceny poznaliśmy już dziś
ZATRZYMAJ SIĘ NA CHWILĘ… TE ARTYKUŁY WARTO PRZECZYTAĆ 👀