Już nie tylko Apple będzie miał Force Touch? Microsoft patentuje podobną technologię

Urządzenia z ekranami dotykowymi, nawet te ze słabszej półki radzą sobie już całkiem przyzwoicie z odpowiednim reagowaniem na obsługę palcem. Z każdą generacją jest to coraz dokładniejsze, ale tak naprawdę zmiany nie są duże, więc firmy muszą myśleć nad innymi sposobami ulepszania dotykowych ekranów i wie o tym Microsoft... ponieważ podpatrywał Apple'a.

Już nie tylko Apple będzie miał Force Touch? Microsoft patentuje podobną technologię 1mężczyzna z tabletem
Źródło zdjęć: © shutterstock.com
Konrad Błaszak

Jak zapewne wiecie, zegarek firmy z Cupertino został wyposażony w technologię Force Touche. Dzięki niej smartwatch wykrywa nie tylko sam dotyk, ale i siłę nacisku, aby dostosować do niej reakcję interfejsu. Nadchodzące iPhone'y również mogą zostać wyposażone w tę technologię, ale wygląda na to, że nie tylko fani Apple'a będą korzystać z czegoś takiego.

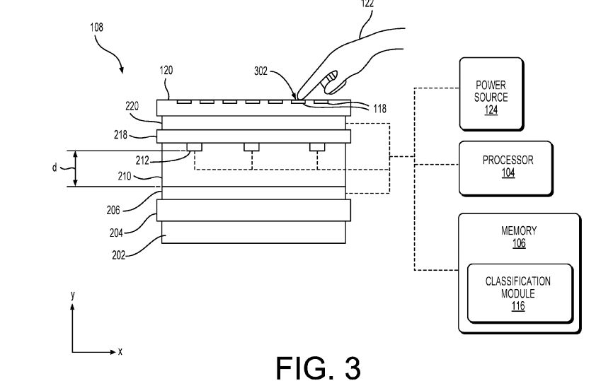
Do sieci trafił wniosek patentowy Microsoftu, który opisuje działanie bardzo podobnej technologii. Według niego w ekranach dotykowych lub innych powierzchniach jak np. klawiatura do Surface'a Pro 3 może zostać użyte bliźniacze rozwiązanie, które ma obsługiwać nawet 10 palców jednocześnie. Każdy nacisk będzie sprawdzany również pod kątem jego siły, a samo rozwiązanie może być tańsze niż Force Touch Apple.

  • Już nie tylko Apple będzie miał Force Touch? Microsoft patentuje podobną technologię 2
  • Już nie tylko Apple będzie miał Force Touch? Microsoft patentuje podobną technologię 3
[1/2] Źródło zdjęć: |

Oczywiście taka technologia mogłaby okazać się bardzo przydatna zarówno na ekranach dotykowych jak i wspomnianej wcześniej klawiaturze do Surface. Dzięki niej moglibyśmy korzystać z wcześniej ustalonych czynności, który byłyby przypisane konkretnemu naciskowi palca. Pozwoliłoby to chociażby na zniknięcie lub ograniczenie menu, które pojawia się podczas przytrzymania palca nad konkretnym elementem, ponieważ poszczególne opcje uruchamiałyby się automatycznie, zależnie od sił nacisku.

Oprócz tego warto przyjrzeć się także technologii Apple'a, dzięki której dotykowy ekran mógłby symulować różne powierzchnie jak skóra czy metal. Połączenie tych technologii otworzyłoby przed nami zupełnie nowe możliwości jeśli chodzi o korzystanie z dotykowych urządzeń. Pozostaje nam tylko poczekać, aż takie rozwiązania pojawią się w smartfonach.

Warto również dodać, że wczoraj pisaliśmy o odpowiedzi Microsoftu na Apple Music, a dzisiaj jest to Force Touch. Jakiemu rozwiązaniu producenta z Cupertino firma odpowiedzialna za Windowsa przyjrzy się jutro?

Źródło artykułu: WP Komórkomania
Wybrane dla Ciebie
Korzystasz ze Spotify? Uważaj na te wiadomości
Korzystasz ze Spotify? Uważaj na te wiadomości
Zapomniałeś hasła do mObywatela? Oto prosty sposób, aby odzyskać dostęp do aplikacji
Zapomniałeś hasła do mObywatela? Oto prosty sposób, aby odzyskać dostęp do aplikacji
Jak będzie działało AI w iOS 18? Wyciekły plany Apple
Jak będzie działało AI w iOS 18? Wyciekły plany Apple
Edytowanie wysłanych SMS-ów? Testy nowej funkcji na Androidzie
Edytowanie wysłanych SMS-ów? Testy nowej funkcji na Androidzie
Czy można używać telefonu podczas burzy? Wyjaśniamy
Czy można używać telefonu podczas burzy? Wyjaśniamy
Jak ukryć swój numer? Prosty poradnik jak ustawić numer prywatny
Jak ukryć swój numer? Prosty poradnik jak ustawić numer prywatny
Premiera Sony Xperia 1 VI już wkrótce. Smartfon zaskoczy aparatem?
Premiera Sony Xperia 1 VI już wkrótce. Smartfon zaskoczy aparatem?
iPhone ze wsparciem AI? Apple blisko zawarcia umowy z OpenAI
iPhone ze wsparciem AI? Apple blisko zawarcia umowy z OpenAI
Tinder ma kłopoty? Młodsi użytkownicy wybierają inną aplikację
Tinder ma kłopoty? Młodsi użytkownicy wybierają inną aplikację
Microsoft uruchomi sklep z grami mobilnymi. Zagrozi Google Play i App Store?
Microsoft uruchomi sklep z grami mobilnymi. Zagrozi Google Play i App Store?
Przetestowali nowy procesor Apple. Oto wyniki wydajności Silicon M4
Przetestowali nowy procesor Apple. Oto wyniki wydajności Silicon M4
Nadchodzi oficjalna premiera serii Realme 12 5G. Ceny poznaliśmy już dziś
Nadchodzi oficjalna premiera serii Realme 12 5G. Ceny poznaliśmy już dziś
NIE WYCHODŹ JESZCZE! MAMY COŚ SPECJALNIE DLA CIEBIE 🎯