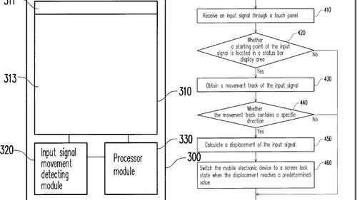
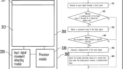
Trzy patenty HTC na odblokowanie telefonu

HTC wypełnił podanie o trzy nowe patenty, które opisują odblokowanie telefonu lub działanie na ekranie wygaszonego smartfona. Firma oczywiście nie wynalazła nic nowego, ale chce objąć swoje pomysły patentem. Jak widać po ostatnich wydarzeniach z Nokią i Apple - opłaca się.

Trzy patenty HTC na odblokowanie telefonu 1

HTC wypełnił podanie o trzy nowe patenty, które opisują odblokowanie telefonu lub działanie na ekranie wygaszonego smartfona. Firma oczywiście nie wynalazła nic nowego, ale chce objąć swoje pomysły patentem. Jak widać po ostatnich wydarzeniach z Nokią i Apple - opłaca się.

Najnowsze patenty HTC być może ujrzymy w kolejnej odsłonie TouchFLO 3D. Koncepcje obejmują:

  • odblokowanie telefonu przez przejechanie palcem od przestrzeni poza ekranem aż po koniec wyświetlacza w trybie pionowym,
  • odblokowanie telefonu przez przeciągnięcie palcem po ekranie (czyli rzecz, która jest już od dawna w innych smartfonach jak iPhone),
  • zmiana tapety wygaszonego ekranu bez potrzeby jego odblokowania.

Źródło: wmpoweruser.com

Źródło artykułu: WP Komórkomania
Wybrane dla Ciebie
Korzystasz ze Spotify? Uważaj na te wiadomości
Korzystasz ze Spotify? Uważaj na te wiadomości
Zapomniałeś hasła do mObywatela? Oto prosty sposób, aby odzyskać dostęp do aplikacji
Zapomniałeś hasła do mObywatela? Oto prosty sposób, aby odzyskać dostęp do aplikacji
Jak będzie działało AI w iOS 18? Wyciekły plany Apple
Jak będzie działało AI w iOS 18? Wyciekły plany Apple
Edytowanie wysłanych SMS-ów? Testy nowej funkcji na Androidzie
Edytowanie wysłanych SMS-ów? Testy nowej funkcji na Androidzie
Czy można używać telefonu podczas burzy? Wyjaśniamy
Czy można używać telefonu podczas burzy? Wyjaśniamy
Jak ukryć swój numer? Prosty poradnik jak ustawić numer prywatny
Jak ukryć swój numer? Prosty poradnik jak ustawić numer prywatny
Premiera Sony Xperia 1 VI już wkrótce. Smartfon zaskoczy aparatem?
Premiera Sony Xperia 1 VI już wkrótce. Smartfon zaskoczy aparatem?
iPhone ze wsparciem AI? Apple blisko zawarcia umowy z OpenAI
iPhone ze wsparciem AI? Apple blisko zawarcia umowy z OpenAI
Tinder ma kłopoty? Młodsi użytkownicy wybierają inną aplikację
Tinder ma kłopoty? Młodsi użytkownicy wybierają inną aplikację
Microsoft uruchomi sklep z grami mobilnymi. Zagrozi Google Play i App Store?
Microsoft uruchomi sklep z grami mobilnymi. Zagrozi Google Play i App Store?
Przetestowali nowy procesor Apple. Oto wyniki wydajności Silicon M4
Przetestowali nowy procesor Apple. Oto wyniki wydajności Silicon M4
Nadchodzi oficjalna premiera serii Realme 12 5G. Ceny poznaliśmy już dziś
Nadchodzi oficjalna premiera serii Realme 12 5G. Ceny poznaliśmy już dziś
ZACZEKAJ! ZOBACZ, CO TERAZ JEST NA TOPIE 🔥