Na inteligentny zegarek Google'a jeszcze trochę poczekamy

Pierwsze plotki na temat smartwatcha Google'a pojawiły się na początku tego roku, jednak wtedy były to po prostu... plotki. Nabrały one wiarygodności dopiero kilka miesięcy później, kiedy to wyszukiwarkowy gigant zakupił firmę WiMM, która słynie z produkcji tego typu gadżetów. Teraz nowe informacje na ten temat podaje Wall Street Journal.

Na inteligentny zegarek Google'a jeszcze trochę poczekamy 1Koncert Google Smartwatch
Miron Nurski

Pierwsze plotki na temat smartwatcha Google'a pojawiły się na początku tego roku, jednak wtedy były to po prostu... plotki. Nabrały one wiarygodności dopiero kilka miesięcy później, kiedy to wyszukiwarkowy gigant zakupił firmę WiMM, która słynie z produkcji tego typu gadżetów. Teraz nowe informacje na ten temat podaje Wall Street Journal.

W ostatnich tygodniach przecieki związane z inteligentnym zegarkiem skrywającym się pod nazwą Gem Nexus wyraźnie się nasiliły, więc mogłoby się wydawać, że urządzenie jest tuż za rogiem. Mówiło się nawet, że zadebiutuje ono na rynku razem z Nexusem 5 i Androidem 4.4 na przełomie października i listopada. Zanosi się jednak na to, że będziemy musieli poczekać trochę dłużej.

[solr id="komorkomania-pl-197866" excerpt="0" image="0" words="20" _url="http://komorkomania.pl/2712,moto-x-to-dopiero-poczatek-czas-na-projekt-ara-i-wlasnorecznie-skladane-smartfony" _mphoto="the-modular-design-of-pr-192d5cd.jpg"][/solr][block src="solr" position="inside"]4650[/block]

Wall Street Journal – powołując się na swoje źródła – podaje, że Google prowadzi właśnie zaawansowane rozmowy z azjatyckimi dostawcami, którzy będą gotowi do rozpoczęcia masowej produkcji dopiero za kilka miesięcy. Na tegoroczną premierę raczej nie mamy już więc co liczyć.

Do tej pory każde kolejne urządzenie z linii Nexus było prezentowane wraz z nowym wydaniem Androida. Zgodnie z przyjętym cyklem wydawniczym następca wersji 4.4 powinien się pojawić latem, więc istnieją niewielkie szanse na to, by smartwach ujrzał światło dzienne wcześniej.

Na inteligentny zegarek Google'a jeszcze trochę poczekamy 2
Google smartwatch - szkic

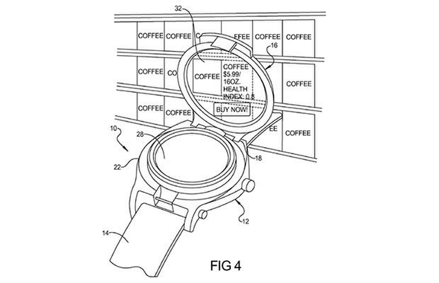
A czego możemy oczekiwać od zegarka? Na razie nie wiadomo zbyt wiele, ale niemal pewne jest, że będzie on zintegrowany z usługą Google Now. Prawdopodobnie - tak jak okulary Google Glass - będzie go można również obsługiwać całkowicie bezdotykowo. Zagadką pozostaje to, czy będzie to samowystarczalne urządzenie, czy jedynie dodatek do smartfona. Druga opcja zdaje się bardziej prawdopodobna. Z drugiej strony wiele mówi się, że Google ma zamiar uderzyć w dwie największe bolączki obecnych inteligentnych zegarków, czyli użyteczność oraz czas pracy baterii. Może się więc okazać, że sam gadżet będzie miał sporo funkcji.

Wszystko wyjaśni się dopiero za kilka miesięcy. Zresztą w przyszłym roku powinien nastąpić wysyp zegarków, a wśród ich producentów zapewne pojawi się inny gigant - Apple. Jak donosi The Verge, Tim Cook jest poważnie zainteresowany wejściem w nowy typ urządzeń, więc iWatch jest jak najbardziej realny.

Źródło: Engadget

Źródło artykułu: WP Komórkomania
Wybrane dla Ciebie
Korzystasz ze Spotify? Uważaj na te wiadomości
Korzystasz ze Spotify? Uważaj na te wiadomości
Zapomniałeś hasła do mObywatela? Oto prosty sposób, aby odzyskać dostęp do aplikacji
Zapomniałeś hasła do mObywatela? Oto prosty sposób, aby odzyskać dostęp do aplikacji
Jak będzie działało AI w iOS 18? Wyciekły plany Apple
Jak będzie działało AI w iOS 18? Wyciekły plany Apple
Edytowanie wysłanych SMS-ów? Testy nowej funkcji na Androidzie
Edytowanie wysłanych SMS-ów? Testy nowej funkcji na Androidzie
Czy można używać telefonu podczas burzy? Wyjaśniamy
Czy można używać telefonu podczas burzy? Wyjaśniamy
Jak ukryć swój numer? Prosty poradnik jak ustawić numer prywatny
Jak ukryć swój numer? Prosty poradnik jak ustawić numer prywatny
Premiera Sony Xperia 1 VI już wkrótce. Smartfon zaskoczy aparatem?
Premiera Sony Xperia 1 VI już wkrótce. Smartfon zaskoczy aparatem?
iPhone ze wsparciem AI? Apple blisko zawarcia umowy z OpenAI
iPhone ze wsparciem AI? Apple blisko zawarcia umowy z OpenAI
Tinder ma kłopoty? Młodsi użytkownicy wybierają inną aplikację
Tinder ma kłopoty? Młodsi użytkownicy wybierają inną aplikację
Microsoft uruchomi sklep z grami mobilnymi. Zagrozi Google Play i App Store?
Microsoft uruchomi sklep z grami mobilnymi. Zagrozi Google Play i App Store?
Przetestowali nowy procesor Apple. Oto wyniki wydajności Silicon M4
Przetestowali nowy procesor Apple. Oto wyniki wydajności Silicon M4
Nadchodzi oficjalna premiera serii Realme 12 5G. Ceny poznaliśmy już dziś
Nadchodzi oficjalna premiera serii Realme 12 5G. Ceny poznaliśmy już dziś
NIE WYCHODŹ JESZCZE! MAMY COŚ SPECJALNIE DLA CIEBIE 🎯